Obrada laserom Pregled
1
1.Uvod
Razvojem lasera stvoreni su uslovi za razvoj različitih postupaka obrade
laserom.Usmeravanjem laserskog snopa na predmet obrade (sl.1) moguće je izvesti niz
proizvodnih operacija,kao što su bušenje,sečenje,otvrdnjavanje,nanošenje
prevlaka,zavarivanje itd.
Sl.1 Principijelna šema formiranja laserskog snopa
Specifične osobine laserskog zračenja omogućile su široku primenu lasera u
industriji,informatici,medicini,vojnoj industriji i nauci.Iako su prvi laseri napravljeni
šezdesetih godina tek u osamdesetim su dobili veći značaj i postali osnova za nove procesne i
proizvodne tehnologije.Laserska tehnologija je našla primenu u većini industrijskih grana za
obradu materijala i metrologiji.Navedene primene laserske tehnologije tek su početak
korišćenja potencijalnih mogućnosti lasera.U metaloprerađivačkoj industriji laserska tehnika
se trenutno najviše koristi za sečenje limova,bušenje,termičku obradu i zavarivanje.
Laserska obrada,Laser Beam Machining (LBM),zasnovana je na primeni
visokokoncetrisane svetlosne energije,dobijene stimulisanim zračenjem,za obradu materijala
topljenjem ili isparavanjem.Snop laserskih zraka fokusiran na radni prečnik 0,15-
0,2[mm],postao je univerzalni alat koji praktično može da seče sve materijale.Za razliku od
konvecionalnog alata on je bez oblika te se ne mora specijalno naručivati za proizvodnju i ne
nameće troškove vezane za skladištenje,oštrenje i podešavanje.
Laser,Light Amplifier by Stimulated Emission of Radiation,je svetlosni pojačivač sa
stimulisanim zračenjem.Princip rada lasera zasnovan je na zračenju laserskog materijala pri
stimulisanom prelazu atoma ili molekula sa višeg energetskog nivoa na niži.
2
Danas postoji više vrsta lasera,međutim i sa industrijske i sa naučne tačke
gledišta,CO
2
laser je nesumnjivo najvažniji laser(sl.2).Mnogobrojni prelazi između rotacijsko-
vibracijskih nivoa molekula CO
2
omogućuju zračenje u infracrvenoj oblasti spektra sa
talasnim dužinma između 8,7[µm] i 11,8[µm], s tim što je najsnažnija emisija u oblasti
10,6[µm].CO
2
laseri mogu biti različitih snaga,u intervalu od nekoliko [mW] za naučne
primene pa do desetine [kW],za obradu materijala.Prvi CO
2
laser je konstruisan 1964.god. i
imao je snagu nekoliko [mW],ali se vrlo brzo razvio u najsnazniji kontinualni laser.U početku
je CO
2
laser radio sa čistim ugljen-dioksidom da bi se kasnije prešlo na upotrebu smeše ugljen
dioksida sa azotom i helijumom-čime je višestruko povećana snaga lasera.
Sl.2 Principijelna šema molekularnih-CO2 laserskih uredjaja

4
Sl.4 Energetski nivoi i principijelna šema rubinskog lasera
Sam proces nastanka i emitovanja svetlosti-lasera,na primer kod lasera zasnovanog
na rubinovom kristalu (
Al
2
O
3
)sa malim primesama hroma (oko 0,05%),se sastoji iz nekoliko
karakterističnih faza.Osvetljavanjem rubinovog kristala dolazi(sl.5) do:
a- prelaska jona hroma iz nepobudjenog-osnovnog stanja u pobudjeno-nestabilno
stanje,
b- stimulisane i spontane emisije svetlosti.Nakon prestanka dejstva svetlosnog izvora
dolazi do emitovanja svetlosti u različitim pravcima.Deo svetlosti odlazi kroz spoljašnju
površinu rubinovog kristala(cilindričnu površinu) u vidu „luminescentne“(hladne svetlosti)
svetlosti i gubi se,dok se drugi deo usmerava i kreće paralelno sa osom kristala,u vidu snopa
fotona
c- višestruko ponovljene lančane reakcije odnosno obrazovanja novih fotona i veoma
snažnog svetlosnog snopa i
d- pojave lasera,vrlo uskog svetlosnog snopa potpuno definisane i konstantne talasne
dužine.
5
Sl.5 Osnovne faze nastanka lasera
Očigledno je da se princip formiranja lasera zasniva na pojavi da atomi i molekuli
nekog kristala ili druge aktivne sredine-materije,ozračeni odgovarajućom svetlošću,prelaze u
više energetsko stanje(iz osnovnog u pobudjeno sl.4).Pri povratku iz pobudjenog stanja,atomi
i molekuli,u kratkom vremenskom periodu od 1-2 µs,emituju intezivnu svetlost.Ako je
povratak atoma i molekula iz nestabilnog u stabilno stanje strogo kontrolisan,uz kratko
zadržavanje na različitim energetskim nivoima izmedju nestabilnog i stabilnog
stanja(sl.4),dolazi do višestruke lančane reakcije i formiranja veoma snažnog svetlosnog
snopa.

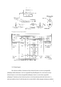
7
Sl.6 Impulsni čvrsti laser,R-stepen refleksije
3.2.Tečni laseri
Kao aktivna sredina u laserima na bazi tečnosti koriste se rastvori neorganskih
jedinjenja retkih elemenata i rastvori organskih boja.Razlikujemo dve vrste lasera na bazi
tečnosti:lasere sa rastvorima neorganskih jedinjenja i lasere sa rastvorima organskih
jedinjenja.U laserima na bazi tečnosti postize se ista koncentracija aktivnih čestica kao i u
aktivnoj sredini na bazi čvrstih tela,tako da se može dobiti velika energija zračenja po jedinici
Želiš da pročitaš svih 22 strana?
Prijavi se i preuzmi ceo dokument.
Slični dokumenti
Ovaj materijal je namenjen za učenje i pripremu, ne za predaju.