Proračun protočnog sistema podmazivanja uljem Pregled
Proračun protočnog sistema podmazivanja uljem Tribologija
Lončar Ilija
1
PRORAČUN PROTOČNOG SISTEMA PODMAZIVANJA
ULJEM
U postrojenjima kojem se treba obezbijediti podmazivanje pojedinih mašinskih elemenata,
potrebno je projektovati adekvatan sistem podmazivanja. Pomoću sistema podmazivanja treba
da se podmazuju sljedeći mašinski elementi: kotrljajni ležaj(valjkasti), pužni prijenosnik,
radijalni klizni ležaj. Konstruktivne karakteristike maznih mjesta su date u tabeli 1, a ostale
parametre neophodne za projektovanja sistema usvajamo prema preporučenoj literaturi.tip
mineralnog ulja za podmazivanje ovih elemenata nosi oznaku ISO VG 150 i ima sljedeće
karakteristike:
o
Kinematski viskozitet
=150 mm
2
/s
o
Dinamički viskozitet
=135 mPas
Mazivo za podmazivanje pužnog prijenosnika bi trebalo, prema preporuci, biti većeg
vikoziteta, ali je iz praktičnih razloga uzeto kao i kod drugih elemenata koji se podmazuju.
Pri proračunu parametara podmazivanja,a za slučaj podmazivanja uljem,polazi se od
usvojenih parametara koji su najčešće :viskozitet i odnos dužine i promijera ležaja. Modeli
proračuna ostalih parametara, kao što su :koeficijent trenja,najmanja debljina uljnog
sloja,najmanji i najveći broj obrtaja,temp. Zagrijavanja ulja,potrebna količina ulja za
podmazivanje i hlađenje su različiti i nekim nacionalnim standardima su propisanji.
1.
Proračun elemenata za podmazivanje
1.1
Kotrljajni valjkasti ležaj ( 2 komada)
Izbor kotrljajnog ležaja vršim po katalogu FAG 41 000 YB. Biram ležaj NJ212 koji je u stanju da
podnese visoke radijalne i aksijalne sile.
Proračun protočnog sistema podmazivanja uljem Tribologija
Lončar Ilija
2
Osnovne karakteristike :
d = 60 [ mm ], unutrašnji prečnik
D = 110 [ mm ], vanjski prečnik
B = 22 [ mm ], širina
r = r
1
= 2,5 [ mm ], radijus
C = 6550 [ kg ], dinamička nosivost
C
o
= 4400 [ kg ], statička nosivost
n
G
= 6300 [ o/min ], granični broj okretaja za podmazivanje uljem
t = 0,847 [ kg ], težina
1.1.1
Proračun potrebne količine ulja za podmazivanje kotrljajnog valjkastog ležaja
Srednji prečnik ležaja :
d
sr
= ( d + D ) / 2 = ( 60 + 110 ) / 2
d
sr
= 85 [ mm ]
Na osnovu srednjeg prečnika i broja okretaja n = 800 [ o/min ] t = 40 [
o
C ] iznosi ν = 20
[ mm
2
/ s ]. Na osnovu radne temperature t = 80 [
o
C ] i kinematke viskoznosti biram ulje
tipa ISO VG 150 .
Za vanjski prečnik ležaja 110 [ mm ] i potrbno hlađenje za ležaje simetrične konstrukcije –
slučaj B, utvrđujem potrbnu količinu ulja po jednom ležaju od 0,3 [ l / min ].
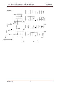
Za mazna mjesta MM1 i MM2 treba obezbjediti količinu maziva od Q
MM1
= 0,3 l / min ] i
Q
MM2
= 0,3 l / min ] i pritisak od p
MM1
= p
MM2
= 4 [ bar ] .
1.2
Radijalni klizni ležaj kod kojeg se ostvaruje hidrodinamičko podmazivanje

Želiš da pročitaš svih 8 strana?
Prijavi se i preuzmi ceo dokument.
Slični dokumenti
Ovaj materijal je namenjen za učenje i pripremu, ne za predaju.