Montaža i servisiranje računara Pregled
VIŠA ELEKTROTEHNI KA ŠKOLA
BEOGRAD
M. MILOSAVLJEVI , M. MILI
MONTAŽA I SERVISIRANJE RA UNARA
SKRIPTA
BEOGRAD, SEPTEMBAR 2004.GOD.
2

4
5
UVOD
U današnje vreme PC ra unari su prisutni u svim oblastima života, pa prakti no ne
postoji ni jedna ljudska delatnost u kojoj se oni u ve oj ili manjoj meri ne primenjuju. Svakako
da je najvažnija njihova primena u poslovne svrhe. U industriji, administraciji i upravi se
savremeno poslovanje bez njih više ne može zamisliti. Druga važna oblast primene PC ra unara
je u obrazovanju, tako da je obrazovnim ustanovama i pojedincima dostupna ogromna baza
stru ne i nau ne literature, kao i mnogobrojni kursevi i sli ni obrazovni sadržaji. Tre a oblast
gde su PC ra unari tako e najšire prisutni je zabava. Sa razvojem PC tehnologije postalo je
mogu e koristiti raznovrsne multimedijalne sadržaje, tako da se danas koriš enjem ra unara
mogu gledati filmovi, slušati kvaliteni muzi ki sadržaji, igrati mnogobrojne igre, ali i stvarati
kompletna umetni ka dela, kao što su slike, filmovi i muzika.
Ogroman broj PC ra unara u svetu i još ve i broj njihovih korisnika, dovodi do velike
potrebe za održavanjem, popravkama i nadogradnjama postoje ih ra unara, kao i odgovaraju eg
i racionalnog izbora prilikom nabavke novih ra unara. U tom cilju e biti ukratko prikazane
glavne komponente savremenih PC ra nara, pri emu ne e biti naglaska na suvišne tehni ke
podatke, koji se i onako veoma brzo menjaju usled neprestanog pojavljivanja novih i ja ih PC
konfiguracija, ve e ve a pažnja biti posve ena osnovnim principima rada pojedinih
komponenti, njihove ugradnje, konfigurisanja i eventualnog servisiranja.
Pri tome treba imati u vidu da se razvojem i širenjm PC tehnologije i cene pojedinih
komponenti smanjuju, tako da se popravka nekih od njih, sa jedne strane materijalno ne isplati, a
sa druge strane tehnološki je prakti no nemogu a sem u fabri kim uslovima. Zbog sve ve eg
stepena integracije koji se primenjuje u današnjoj proizvodnji PC ra unara, gotovo kod svih
njihovih komponenata preovladava SMD tehnologija (Surface Mounted Devices – elementi sa
površinskom montažom) montaže i lemljenja elektronskih sastavnih delova. Osim toga
inegrisana kola (tako e u SMD tehnologiji) postaju sve kompleksnija i namenski pravljena za
pojedine ure aje, pa se kao takva ne mogu ni na i na slobodnom tržištu. Uzimaju i u obzir ove
dve injenice, broj sastavnih elemenata u PC ra unaru koji se isplativo može popravljati na
nivou pojedina nih elektonskih komponenti se znatno smanjio. Ipak, još uvek ima prostora i
potrebe za popravkama stepena za napajanje, monitora i periferijskih ure aja kao što su
štampa i. Zato e ovim elementima biti posve na i naro ita pažnja.
U svim PC ra unarima, njihovim monitorima, svim štampa ima, skenerima i ostalim
periferijskim ure ajima postoje takozvani impulsni (prekida ki) stepeni za napajanje. Pošto se u
svim nabrojanim ure ajima koriste stepeni za napajanje koji rade na istom principu, i ako se zna
da su kvarovi u ovim stepenima relativno esti odnosu na ostale komponente, jasno je da je od
velike koristi upoznavanje sa principima rada ovakvih stepena za napajanje i njihovog
servisiranja.
Monitori za PC ra unare još uvek imaju relativno visoku cenu, a kako se kod njih još
uvek ve inom primenjuje klasi na tehnologija izrade, sa integrisanim kolima koja su manje više
dostupna, i oni spadaju u PC komponente kojima e biti posve ena ve a pažnja.
I pored sve ve eg koriš enja dokumenata u elektronskom obliku, još uvek je potrebno
veliki broj dokumenata koristiti u papirnom obliku. Za tu namenu se najviše koriste laserski
štampa i. Kod ovih štampa a se, pored hardverskih, javljaju kvarovi i smetnje koje su ili
privremenog karaktera, ili koji se mogu relativno jedostavnom intervencijom otkloniti. Zato e
biti detaljno opisan princip njihovog rada i na in otklanjanja nekih kvarova i smetnji.
I za ve inu ostalih sastavnih komponenti PC ra unara e biti navedene mogu e
intervencije na njima. Nekim komponentama koje su veoma jeftine ili spadaju u potrošnu robu
(tastature, miševi i sli no) ne e biti posve ena neka pažnja, jer za to nema racionalnih razloga.

7
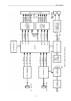
MATI NE PLO E
Mati na plo a je centralni element PC ra unara, koji me usobno povezuje sve ostale
elemente. Koriš enjem ovakvog koncepta ra unara omogu ena je jednostavna promena
pojedinih komponenata koje ine ra unar i na taj na in i promena (unapre enje) njegovih
karakteristika. Na slici 1 je prikazan izgled mati ne plo e jednog savremenog PC ra unara sa
glavnim elmemtima na njoj.
Slika 1 Izgled savremene mati ne plo e
Mati na plo a se sastoji od jedne višeslojne štampane plo e na kojoj se nalazi zalemljen
veliki broj elektronskih i elektromehani kih elemenata. Elektri ne veze izme u elemenata na
mati noj plo i su izvedene tanjim ili debljim bakarnim linijama i površinama. Neki od
elemenata na plo i omogu avaju priklju enje ostalih elemenata ra unara i to su razni konektori,
SLOTOVI ZA
MEMORIJSKE
MODULE
ATX 12V
KONEKTOR
GORE: MIŠ
DOLE: TASTATURA
GORE:
PARALELNI
PORT
DOLE:
SERIJSKI
PORT
COM1
SPDIF
KOAKSIJALNI
KONEKTOR
DOLE: SPDIF
OPTI KI
KONEKTOR
USB
PRIKLJU CI
P
O
D
N
O
ŽI
JE
(S
O
K
E
T)
ZA
M
IK
R
O
P
R
O
C
E
S
O
R
A
TX
K
O
N
E
K
TO
R
ZA
N
A
P
A
JA
N
JE
K
O
N
E
K
TO
R
I
V
E
N
TI
LA
TO
R
A
ZA
H
LA
E
N
JE
IP SET
(NORTH
BRIDGE)
IP SET
(SOUTH
BRIDGE)
KONEKTORI
ZA FLOPI I
PARALELNE
ATA
DISKOVE
BIOS IP
KONEKTORI
ZA SERIJSKE
ATA DISKOVE
BATERIJA
ZA CMOS
MEMORIJU
PRIKLJU CI
ZA
KONTROLNI
PANEL
AUDIO
PRIKLJU CI:
(AUDIO ULAZ,
AUDIO IZLAZ,
MIKROFON...)
DOLE: USB
PRIKLJU CI
GORE: RJ-45 LAN
PRIKLJU AK
Želiš da pročitaš svih 99 strana?
Prijavi se i preuzmi ceo dokument.
Slični dokumenti
Ovaj materijal je namenjen za učenje i pripremu, ne za predaju.